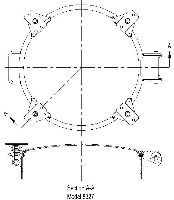
Description
- Threaded Hold-Downs
- Low Profile
- 4”, 6”, 10” High Collar Available
Note: Not legal for DOT specification cargo tanks.
Tiona 20” Full Opening Manholes are fabricated for greater strength and less weight. Full 20 inch opening assures safe entrance for inspection or cleaning of tank.






