Description
Light Weight | Compact | Versatile
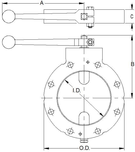
The Betts Wet-R-Dri valve is designed for handling liquid, gaseous or dry products and is available in a variety of sizes and models. This space saving valve is lightweight, easily maintained and has a positive stop in the open and closed position. The Detent model has a detent spring and ball which assist in holding the disc in the open and closed position.














